Watts Water Quality Solutions
Residential Drinking Water
Premium Quality Filter Housings
Heavy duty construction, made entirely of the highest quality FDA grade NSP listed polpropylene.
Superior chemical resistance for most acids, alchohol, ammonia, oils, planting solutions and many other aggressive chemicals.
Housings and EPDM o-rings, rated for temperatures to 125º F (52ºF) and pressures to 125 psi (8.75 bar).
Cap, sump and top-seated o-ring compress to provide leak proof sealing.
Superior sealing and security with thread buttress design.
100% virgin polyproylene housings available for high purity water.
Full product line, including housings for standard and full flow (B-B) cartridges, in opaque & clear sump models.
Thick side walls with heavy-duty ribs provide added strength.
Models with pressure release available.
Pipe fittings to 1-1/2" for flow rates to 30 GPM.
|
Flowmatic® Filter Housings
Flowmatic's top-of-the-line filter housings are rated #1 in the industry offering both quality and price. Manufactured from the highest quality NSF listed, FDA grade polypropylene, they are available in a wide range of styles, colors, and pipe fittings. EPDM o-rings standard. Rated for temperatures to 125°F (52°C), pressures to 125 psid (8.75 bar) and burst tested at 500 psi and 150,000 cycles. Custom models are available.
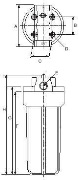
| Model |
Size |
A |
B |
C |
D |
E |
F |
G |
H |
| 500 Series |
5" |
4.28" |
1.57" |
1.18" |
0.16" |
X |
5.7" |
7.0" |
7.5" |
| 4000 Series |
10" |
4.72" |
1.57" |
1.18" |
1.18" |
X |
10.5" |
11.0" |
11.8" |
| 4200 Series |
10" |
4.72" |
1.57" |
1.18" |
1.18" |
X |
10.5" |
11.0" |
11.8" |
| 7000 Series |
20" |
4.72" |
1.57" |
1.18" |
1.18" |
X |
20.47" |
21.26" |
22.8" |
| 8000 Series |
20" |
5.35" |
1.57" |
2.28" |
0.23" |
X |
20.47" |
21.26" |
22.8" |
| HD Series |
10" |
5.35" |
1.57" |
2.28" |
0.23" |
X |
10.43" |
11.49" |
12.5" |
| Full-Flow (B-B) |
10" |
7.28" |
1.57" |
3.03" |
0.275" |
X |
11.33" |
11.57" |
14.0" |
| Full-Flow (B-B) |
10" |
4.78" |
1.57" |
3.03" |
0.275" |
X |
21.25" |
21.65" |
24.0" |
x = Depends on size of pipe fitting selected
![]() Under Counter Top-of-the-line housings. |
![]() Full-Flow (B-B) For 4-1/2" OD cartridges. |
![]() High Purity Virgin polypropylene. |
![]() High Temp Rated to 200ºF (93ºC). |
![]() Valve-in-Head Clear or opaque, with by-pass & shut-off |
![]() 500 & 4000 Series |
![]() 4200 & 7000 Series |
![]() 4500 & 8000 Series |
![]() 5000 & 1000 Series |
![]() Dimensions |
5000 Series Filter Housings
10" Full-Flow Housings for 9-3/4" x 4-1/2" O.D. Cartridges
Heavy-duty construction for residential and commercial applications.
![]() Opaque |
![]() Clear |
![]() Custom Models Available |
|
Filter Housing Mounting Brackets
Our catalog contains a complete range of Mounting Brackets, Mounting Screws for Housing Brackets, Wrenches for Housing Sump Removal, O-rings, and Filter Housing Caps.













email: info@quantrol.net 44W210 Keslinger Rd, Elburn, IL 60119
Phone: (866) 782-6876 Fax: (630) 355-3568